Tn 102 - 30s niplu trec podea corp
Cod produs: R102-30SC
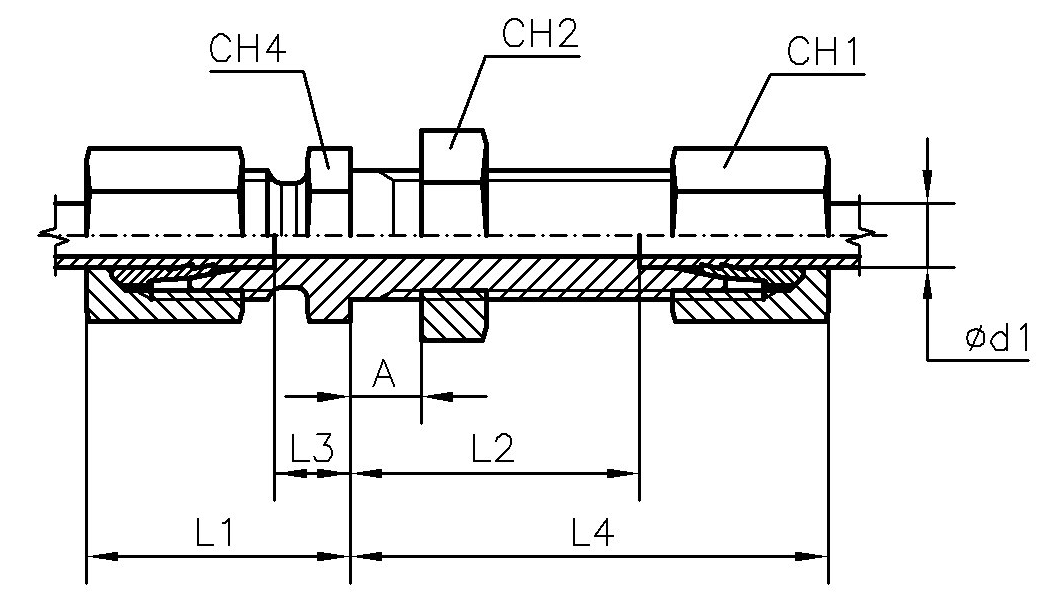
Caracteristici tehnice:
| PN | Diametru teava | Ød1 | CH1 | CH2 | CH4 | L1 | L2 | L3 | L4 |
|---|---|---|---|---|---|---|---|---|---|
| 400 | 30 | 30 | 50 | 50 | 50 | 48 | 37.5 | 21.5 | 64 |
| Tip Filet | METRIC |
| Conector F1 | Filet METRIC exterior cilindric |
| Etansare F1 | Con interior 24° |
| Conector F2 | Filet METRIC exterior cilindric |
| Etansare F2 | Con interior 24° |
| Echipare | Corp (fara piulita si inel de taiere) |
| Standard | DIN 2353/ISO 8434-1 |
| Material | Otel |
| Suprafata | Galvanizare |