Tn 417 - 08l racord orientabil cot 45° o-ring [corp]
Cod produs: R417-8LC
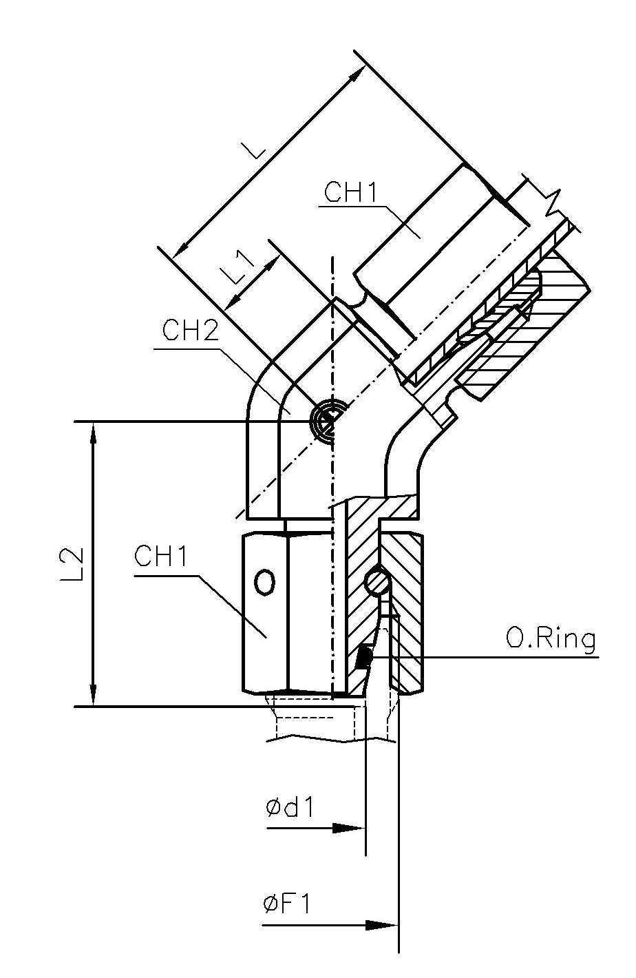
Caracteristici tehnice:
| Diametru teava | Ød1 | F1 | CH1 | CH2 | L | L1 | L2 | O-Ring |
|---|---|---|---|---|---|---|---|---|
| 8 | 8 | M14x1.5 | 17 | 14 | 27 | 12 | 27.5 | 6x1.5 |
| Tip Filet | METRIC |
| Conector F1 | Filet METRIC piulita |
| Etansare F1 | Con exterior 24° cu O-Ring |
| Conector F2 | Filet METRIC exterior cilindric |
| Etansare F2 | Con interior 24° |
| Echipare | Corp (fara piulita si inel de taiere) |
| Standard | DIN 2353/ISO 8434-1 |
| Material | Otel |
| Suprafata | Galvanizare |